Здравствуйте, меня зовут Юрий. 
Два выходных дня стоят больше того, чтобы всецело посвятить их решению бытовых вопросов или, чего доброго, походу на "любимую" работу. Спасением от рабочих и бытовых проблем, от извечного слова "надо", станет замена этого слова на слово "хочется". Как это получается, представлено на страницах моего блога.Два выходных дняThere are three things you can watch forever: fire.... Эта часть известной фразы переводится как: "бесконечно можно смотреть на три вещи: огонь...". Предлагаемая конструкция имитирует горение одной или нескольких ароматических свечей в гильзах. Какого-либо запаха и вредных веществ при "горении" не образуется.
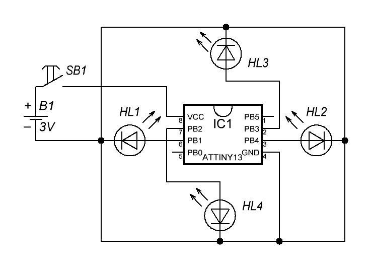
Рисунок 1 - Принципиальная электрическая схема
Основу устройства составляет микроконтроллер ATTINY13, рабо- тающий под управлением программы, создающей эффект мер- цания свечей. В роли "свечей" выступают светодиоды жёлтого свечения HL1-HL4. Количество одновременно мерцающих "свечей" выбирается "по кругу" 1 - 2 - 3 - 4 - 1... последовательным нажатием на кнопку включения SB1. При достаточном внешнем освещении "свечи" не загораются. Для этого используется малоизвестная особенность светодиодов выступать в роли датчиков уровня освещённости или фотодиодов. Микроконтроллер анализирует уровень выходного сигнала светодиода/фотодиода при помощи встроенного аналого-цифрового преобразователя/компаратора и при снижении этого уровня ниже порогового значения, заданного управляющей программой, включает режим мерцания светодиодов.
Источником питания устройства служат два последовательно включенных гальванических элемента питания типа AA (LR6) с суммарным напряжением 3 вольта. При большем напряжении питания необходимо последовательно со светодиодами HL1-HL4 включить токоограничительные резисторы для исключения перегрузки выходов микроконтроллера ATTINY13.
Конструкция устройства и применяемые
радиоэлементы
Микроконтроллер установлен на кусочке макетной платы, его выво- ды соединены с выводами светодиодов проводом МГТФ. Конструкция "свечей" зависит от желающего повторить эту схему. Мне проще всего было расположить светодиоды в гильзах, изготов- ленных из корпусов электролитических конденсаторов.
Рисунок 2 - гильзы для светодиодов
Гильзы крепятся при помощи винтов и гаек М2,5 к корпусу, в роли которого выступает распределительная коробка для проводного телефонного аппарата.
Рисунок 3 - Телефонная коробка
Выводы светодиодов изолируются фторопластовыми трубками и пропускаются через отверстия в гильзах внутрь корпуса коробки (рисунки 4 - 6)
Рисунок 4
Рисунок 5
Рисунок 6
После того как были размечены и просверлены отверстия для крепления гильз и отверстия под выводы светодиодов, коробка была покрашена чёрной краской из баллончика (рисунок 7).
Рисунок 7 - Покрашенная коробка
Для установки элементов питания к донышку телефонной коробки был прикреплён при помощи отрезка одножильного провода дер- жатель батарей типа BH321 (рисунки 8, 9, 10).
Рисунок 8 - Держатель батарей BH321
Рисунок 9
Рисунок 10
Для включения устройства и изменения количества зажжённых "свечей" установлена кнопка с фиксацией типа PSW-1 (рисунки 11,12).

Рисунок 11

Рисунок 12
Гильзы закреплены на верхней части коробки, установлены свето- диоды и соединены согласно принципиальной электрической схемы (рисунки 13 - 16).
Рисунок 13
Рисунок 14
Рисунок 15
Рисунок 16
Кусочек макетной платы с микроконтроллером ATTINY13 закреплён винтом-саморезом на пластиковой стоечке донышка (рисунки 17, 18).
Рисунок 17
Рисунок 18
Верхняя часть коробки и донышко соединяются встроенными защёлками (рисунки 19, 20).
Рисунок 19
Рисунок 20
На шток кнопки одевается колпачок, для чего вырезается часть корпуса коробки и удаляются его некоторые элементы (рисунок 21).
Рисунок 21
Для достоверности гильзы со светодиодами заливаются белой массой из настоящих ароматических свечей, Для этого исполь- зуется фен с температурой выходящего воздуха 100 градусов (рисунок 22).
Рисунок 22
Рисунок 23 - Законченное устройство
Ниже представлен короткий видеоролик, демонстрирующий процесс зажигания "свечей".
Управляющую программу для микроконтроллера можно скачать здесь. FUSE биты установлены по умолчанию, как для нового микроконтроллера.
Мне каждый вечер зажигают свечи,
И образ твой окуривает дым,
И не хочу я знать, что время лечит,
Что всё проходит вместе с ним.
Я больше не избавлюсь от покоя,
Ведь всё, что было на душе на год вперёд,
Не ведая, она взяла с собою 
Сначала в порт, а после — в самолёт.
Мне каждый вечер зажигают свечи,
И образ твой окуривает дым,
И не хочу я знать, что время лечит,
Что всё проходит вместе с ним.
В душе моей — пустынная пустыня.
Ну что стоите над пустой моей душой!
Обрывки песен там и паутина, 
А остальное всё она взяла с собой.
Теперь мне вечер зажигает свечи,
И образ твой окуривает дым, 
И не хочу я знать, что время лечит,
Что всё проходит вместе с ним.
В душе моей — всё цели без дороги, 
Поройтесь в ней — и вы найдёте лишь
Две полуфразы, полудиалоги, 
А остальное — Франция, Париж...
И пусть мне вечер зажигает свечи,
И образ твой окуривает дым, 
Но не хочу я знать, что время лечит,
Что всё проходит вместе с ним. 
Владимир Семенович Высоцкий 1967г.